

First, detailed materials of the product [the two-seater regulating valve of pneumatic membrane ]:
Type of the products: ZJHN
Name of product: Two-seater regulating valve of precise small-scale pneumatic membrane
Characteristic of the products: ZJHN type precise small-scale pneumatic membrane two-seater regulating valve, there are two valve seats in the body in the valve, the fluid is flowed out through sealing the surface from head to foot of core of the valve, not equilibrant is small, a kind of balanced type structure, allow to use the difference of pressing to be relatively great, suitable for pressing difference largly, the flow is large, occasion on require leaking amount strictly it require, last petroleum, chemical industry, pharmacy, metallurgy, hydropower station extensively,,etc. industrial department, control such medium as the gas , liquid , steam ,etc..
Second, valve body:
Body form of the valve: Cast the ball type valve in direct two-seater
Nominal and open directly: 25~300mm
Nominal pressure: PN1.6 4.0 6.4MPa
Connect the form : The flange type presses JB78-59 JB 79-59
Material : HT200 ZG230- 450 ZG1Cr18Ni9Ti ZG0Cr18Ni12Mo2Ti
Third, have the valve to cover:
Normal atmospheric temperature type: -20 degrees Centigrade and 20 +200 degrees Centigrade
Heat dissipation type: -40 degrees Centigrade and 40 +450 degrees Centigrade
Press the form of overlaying: Compressing tightly type of the bolt
Packing : Polytetrafluoroethylene (PTFE) packing of Model V , soft graphite , stainless steel corrugated pipe .
Fourth, package in the valve:
Core pattern of the valve: Post filling in type valve core of pair of two-seater of leading
Flow characteristic: It is linear characteristic,,etc. percentage characteristic or can't turn on soon characteristic of
Material : 1Cr18Ni9Ti 0Cr18Ni12Mo2Ti
Fifth, executive body:
Pattern: Many spring type membrane executive bodies
Diaphragm material : The man inserts fine rubber to strengthen the dacron fabric
Spring range: 0.02~0. 1, 0.04~0.20MPa
Support atmospheric pressure strength : 0.14 0.16 0.28MPa
The source of the gas is connected: M10* 1
Environment temperature: -30 30 +70 degrees Centigrade

Sixth, valve function pattern: Angry - -Closing type or angry - -Opening type
Enclosure : The positioner, handwheel organization
Performance : (take the positioner)
Letting out amount: Smaller than 0.5% of the specified flow coefficient Kv
Basically Error: ± 1.5%
Lack of: 1.5%
Dying area: 0.6%
Connection terminals deviation : ± 1.5%
Adjustable range: 30:1
Seventh , flow coefficient Kv and journey , allow to press difference:
|
Nominal and open directly ( mm)
|
25 |
32 |
40 |
50 |
65 |
80 |
100 |
125 |
150 |
200 |
|
Diameter of the valve seat (mm)
|
15 |
20 |
25 |
32 |
40 |
50 |
65 |
80 |
100 |
125 |
150 |
200 |
|
Flow coefficient Kv
|
4 |
6.3 |
10 |
16 |
25 |
40 |
63 |
100 |
160 |
250 |
400 |
630 |
|
Journey (mm)
|
16 |
25 |
40 |
60 |
|
Allow to press difference ( MPa) |
5.8 |
4.9 |
3.8 |
2.9 |
4.0 |
3.3 |
2.6 |
3.6 |
3.0 |
2.3 |
The remarks: The valve opened the state and allowed to press difference
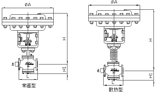
Eighth, external dimension of regulating valve of ZJHN pneumatic membrane two-seater:
|
Nominal and open directly
|
Executive body
|
H |
Φ A
|
H1
|
L |
|
Normal atmospheric temperature type
|
Heat dissipation type
|
PN1.6
|
PN4.0
|
PN6.4 |
|
25
|
ZHA22
|
498
|
648
|
285
|
117
|
185
|
190
|
205 |
|
32
|
ZHA22
|
501
|
651
|
285
|
120
|
200
|
210
|
220 |
|
40
|
ZHA22
|
522
|
691
|
285
|
139
|
220
|
230
|
240 |
|
50
|
ZHA22
|
530
|
699
|
285
|
144
|
250
|
255
|
265 |
|
65
|
ZHA34
|
645
|
815
|
363
|
188
|
275
|
285
|
295 |
|
80
|
ZHA34
|
661
|
835
|
363
|
208
|
305
|
310
|
325 |
|
100
|
ZHA34
|
687
|
887
|
363
|
220
|
350
|
355
|
370 |
|
125
|
ZHA34
|
1234
|
1444
|
363
|
270
|
410
|
425
|
440 |
|
150
|
ZHA45
|
1242
|
1492
|
470
|
280
|
450
|
460
|
475 |
|
200 |
ZHA45 |
1394 |
1654 |
470 |
320 |
550 |
560 |
570 |

Ninth, explanation of compilation of type:
|
Z |
J |
H |
N |
25 |
P |
G |
B |
|
Automatic control valve |
Executive body: |
Executive body: |
Structure type of the valve: |
Nominal pressure: |
Valve body material: |
Temperature type: |
Function pattern: |
|
|
J: It is precise and small-scale to show |
Pneumatic membrane of many springs |
P: Express the single seat |
16: Express 1.6MPa |
C: Express the carbon steel |
G: China's warm normal atmospheric temperature omitting |
K: Show the angry opening type |
|
|
|
|
J: It is precise and small-scale to show |
Pneumatic membrane of many springs |
P: Express the single seat |
|
|
|
|
|
|
M: Express the collet valve |
40: Express 4.0MPa |
|
|
|
|
|
|
|
|
64: Express 6.4MPa |